你提供的照片可能用于改善必应图片处理服务。
隐私政策
|
使用条款
无法使用此链接。检查链接是否以 "http://" 或 "https://" 开头,然后重试。
无法处理此搜索。请尝试其他图像或关键字。
试用视觉搜索
使用图像搜索、识别对象和文本、翻译或解决问题
将一个或多个图像拖到此处,
上传图像
或
打开相机
将图像放到此处以开始搜索
要使用可视化搜索,请在浏览器中启用相机
English
全部
搜索
图片
灵感
创建
集合
视频
地图
资讯
更多
购物
航班
旅游
笔记本
自动播放所有 GIF
在这里更改自动播放及其他图像设置
自动播放所有 GIF
拨动开关以打开
自动播放 GIF
图片尺寸
全部
小
中
大
特大
至少... *
自定义宽度
x
自定义高度
像素
请为宽度和高度输入一个数字
颜色
全部
仅限颜色
黑白
类型
全部
照片
剪贴画
素描
动画 GIF
透明
版式
全部
方形
横版
高
人物
全部
仅脸部
半身像
日期
全部
过去 24 小时
过去一周
过去一个月
去年
授权
全部
所有创作共用
公共领域
免费分享和使用
在商业上免费分享和使用
免费修改、分享和使用
在商业上免费修改、分享和使用
详细了解
清除筛选条件
安全搜索:
中等
严格
中等(默认)
关闭
筛选器
825×545
github.com
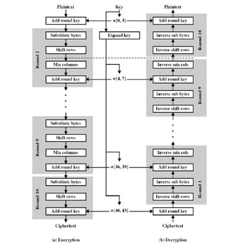
GitHub - Halieeim/AES_Encryption_Decryption…
564×487
researchgate.net
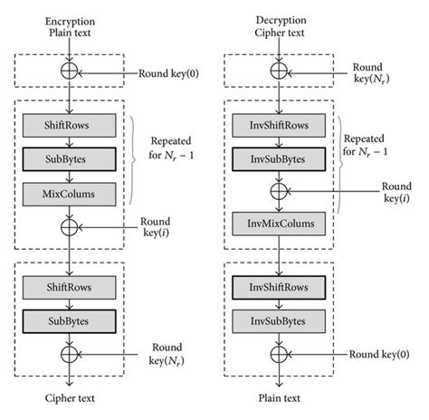
AES encryption/decryption | Download Scientific Diagram
1220×906
devglan.com
AES Encryption and Decryption Online Tool
1200×600
github.com
GitHub - kiro6/AES-encryption-decryption-tool: AES encryption and decryption tool for files
832×435
ResearchGate
AES Encryption and Decryption. | Download Scientific Diagram
724×1010
researchgate.net
AES Encryption and Decryption …
320×320
researchgate.net
AES encryption and decryption. | Download …
575×575
researchgate.net
AES Encryption and Decryption Processes | …
602×602
researchgate.net
AES encryption and decryption | Download S…
592×802
ResearchGate
AES-encryption and decryptio…
838×598
researchgate.net
AES encryption and decryption process. | Download Scientifi…
320×320
researchgate.net
AES encryption and decryption process…
1792×1024
ittrip.xyz
PythonでAES暗号化と復号を行う手順 | IT trip
1920×1080
get-assets.com
AESCryptor – AES Encryption & Decryption | Get-Assets
495×497
researchgate.net
AES encryption and decryption process [20] | D…
323×323
researchgate.net
Encryption and Decryption Processes of AES | Downlo…
797×839
researchgate.net
Encryption and Decryption of AES | Download Scienti…
544×758
researchgate.net
AES Encryption and Decryption | Down…
850×595
researchgate.net
AES Encryption and Decryption | Download Scientific Diagram
600×794
researchgate.net
(a) AES encryption process. (b) AES dec…
640×640
researchgate.net
AES encryption and decryption block diagram | Download Sci…
850×628
researchgate.net
AES encryption and decryption transformations | Download Scientific Diag…
734×999
ResearchGate
Block diagram for AES encryption and decry…
801×879
researchgate.net
AES Encryption and decryption Process [7, 8, 9…
704×720
researchgate.net
Depicts the structure of AES encryption -decry…
850×1033
researchgate.net
AES encryption and decryption.... | Do…
640×360
slideshare.net
AES Encryption Decryption in Crptography.pptx
850×788
researchgate.net
Encryption and Decryption process of AES. | Downlo…
850×977
researchgate.net
Decryption of AES images | Download …
392×337
researchgate.net
Implementation of AES decryption. | Download Scientif…
600×588
researchgate.net
The encryption and decryption processes in A…
850×1085
researchgate.net
Schematic illustration of the proposed A…
609×609
researchgate.net
AES Decryption Flowchart 7. Logistic Map Encryptio…
711×487
ResearchGate
Encryption and decryption block diagram for AES algorithm | Download Scientific …
640×640
researchgate.net
Schematic illustration of the proposed AES encryption …
某些结果已被隐藏,因为你可能无法访问这些结果。
显示无法访问的结果
报告不当内容
请选择下列任一选项。
无关
低俗内容
成人
儿童性侵犯
反馈